Porsche and the “Six-Stroke Engine Patent”
I was just watching a YouTube video by Mentour Pilot, when the algorithm suggested me a video by driving 4 answers, an American enthusiast whose explanations on mechanics, engines, and cars are sometimes questionable. Engineering Explained is usually more reliable, but this is not the point. I’ll give the link to the video after the big news:
Porsche has applied for a “Six-Stroke Engine Patent”!
Method for a combustion machine with two times three strokes
Inventors & Assignees:
Andre Kopp (Dr Ing HCF Porsche AG)
Ovidiu Barac-Zbircea, Nicolae Vlad Burnete (Technical University Of Cluj Napoca)
● Patent on Google Patents: US20240301817A1 – PDF
● USPTO: 18/585,308 | PORS.323.01 US
● Swiss patent application CH714074A2: look for “Foreign Reference” PDF in the USPTO page.
● YouTube: Understanding Porsche’s New Six Stroke Engine Patent
From the YT description:
Chapters:
00:00 How it works
08:43 Benefits
14:34 Drawbacks
19:01 Why now?Just a few days ago news has surfaced on the internet that Porsche has patented a revolutionary new six-stroke engine which according to them has the power benefits of a two-stroke engine but the durability and emissions cleanliness of a four-stroke engine.
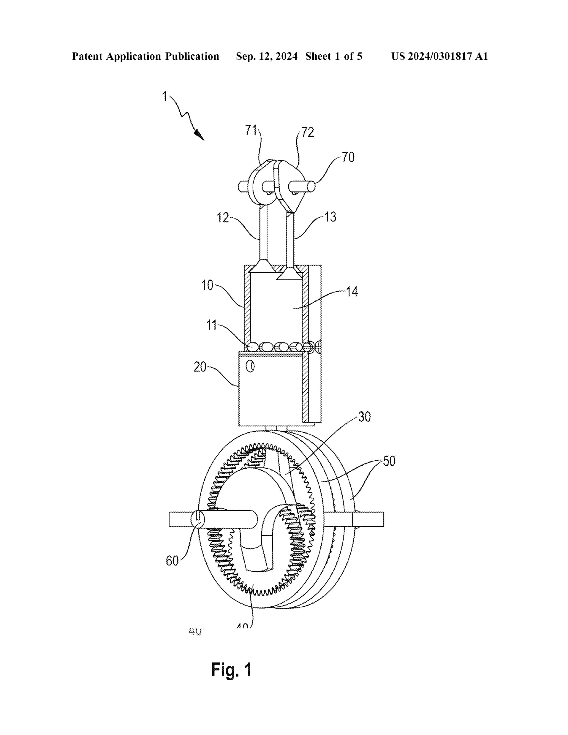
As you probably know, traditional four-stroke engines which powers virtually every combustion car, truck, or motorcycle on the roads today goes intake, compression, combustion, and exhaust.
Porsche new design adds one more combustion and more compression stroke into the mix, and so the new engine goes: intake—compression—combustion—compression—combustion—exhaust.
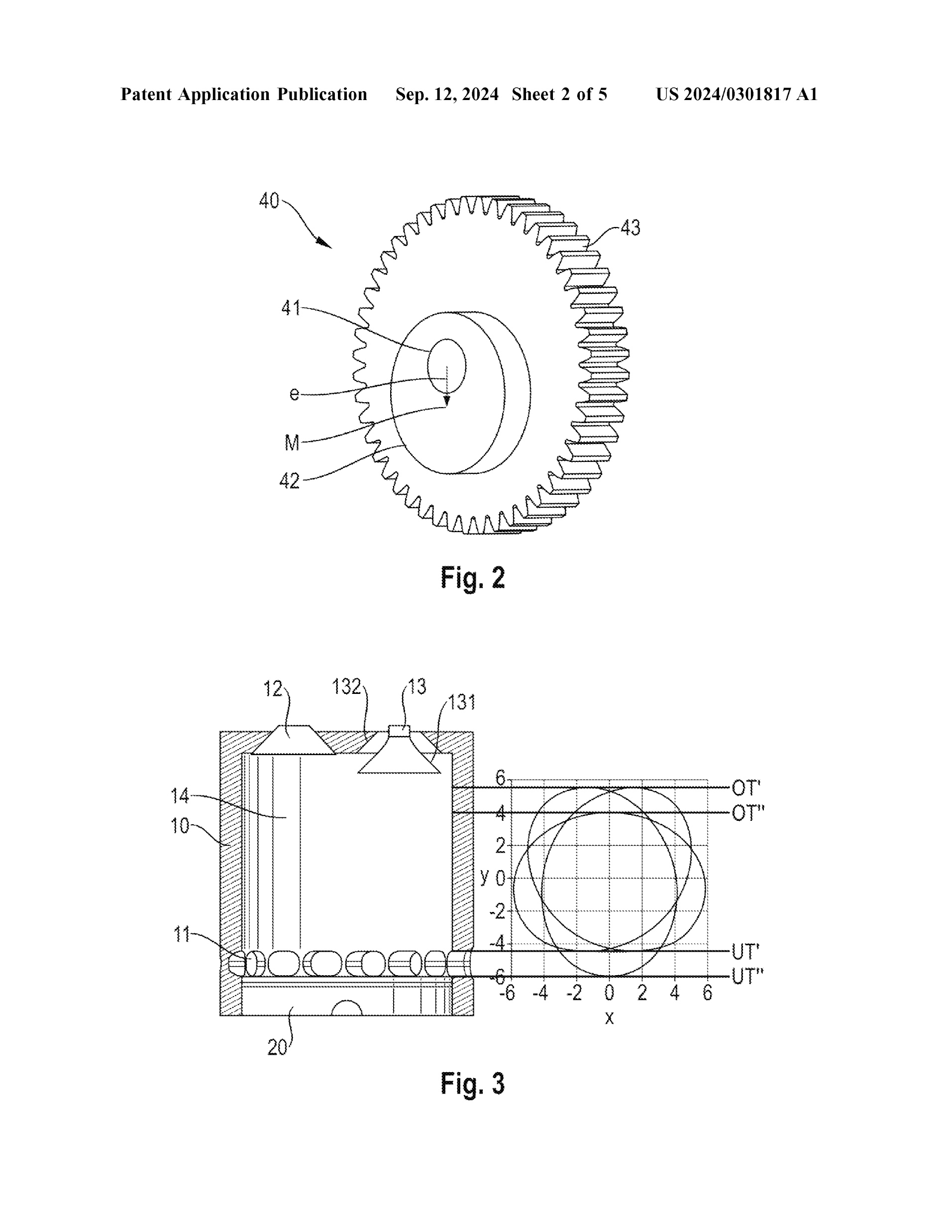
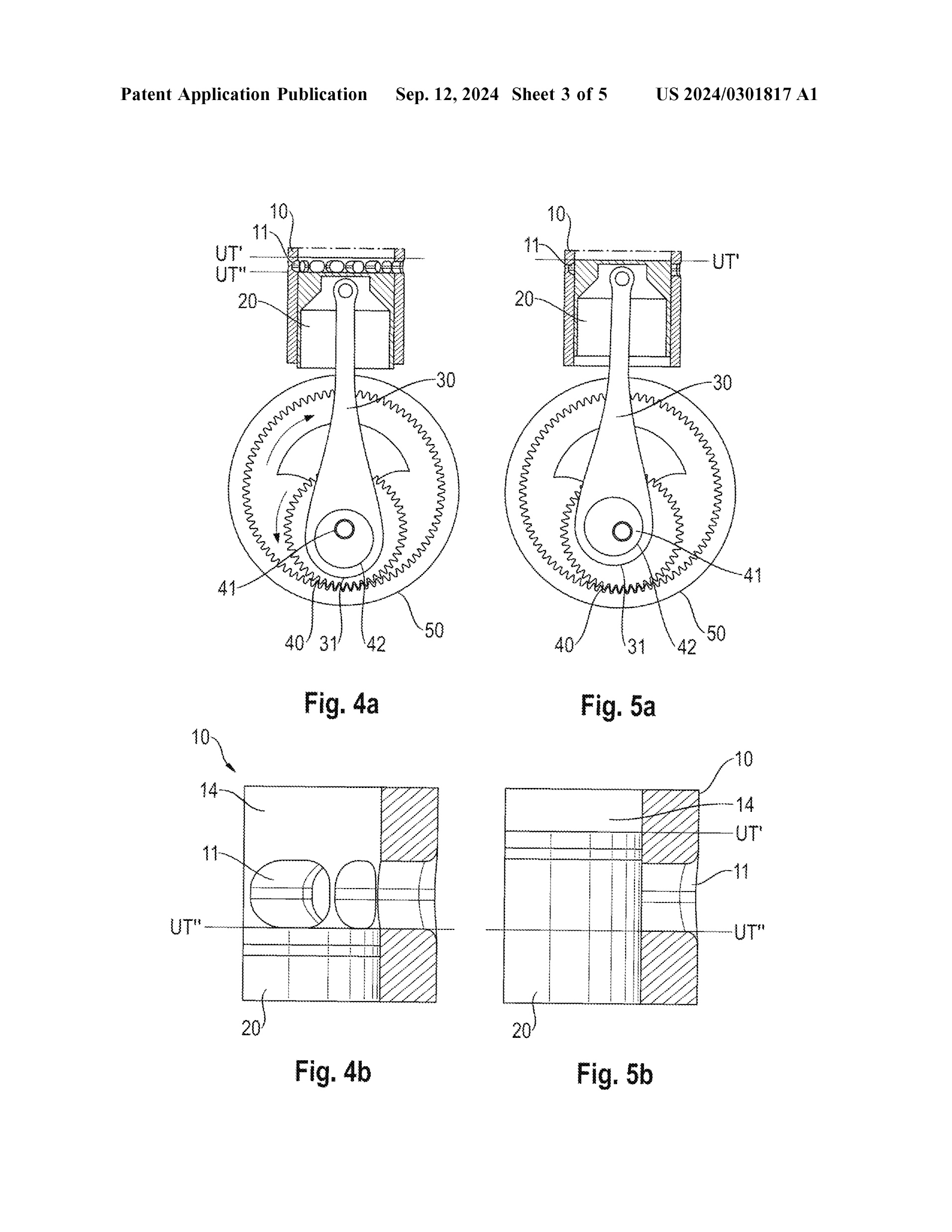
This relies on 100% existing technology. Gears, rod, crank, piston. Even the ports which are known as scavenging ports are ancient. Btw, this very arrangement with ports on one side and valves on the other is known as uniflow scavenging. Because the flow goes in a uniform direction through the cylinder. And this is very common on two-stroke diesels in ships and locomotives. The six stroke also don’t make any serious problems for the camshafts. Instead of rotating at half the crankshaft speed, the camshafts will now rotate at one-third the crankshaft speed, so we just need a slightly larger cam gear and we also need an additional lobe on the exhaust come and that’s pretty much it, nothing complex. So there are really no novel mechanics in this, which means that it doesn’t need heavy investments into research and development to get it to market.
It does make more power than a traditional four-stroke. If we observe the first 720 degrees of rotation we can see that we get only one combustion event, just like a traditional four-stroke. But if we observe the next 360 degrees, we will see another combustion event starting at 720 degrees of rotation. This does not happen in the traditional four-stroke until we reach 1080 degrees of rotation.
So if we observe let’s say 7200 degrees of rotation, the traditional four-stroke will perform 10 combustion events. The six stroke will perform 13.34 combustion events. So that’s 33.4% more power than a traditional four-stroke. Now, it’s definitely not in two-stroke territory because a two-stroke will perform 20 combustion events in 7200 degrees of rotation and that’s 20 equal, proper combustion events. Remember, on the six stroke, every other combustion event is a mix of exhaust gas and air and fuel which means that we’re probably not looking at a power increase of 33.4% but likely something closer to 25%. But 25% more power with existing technology and emissions cleanliness and durability of a traditional four stroke is still a very significant improvement and a very clever and rational way towards more power.
Something else this makes possible is to run very high boost pressure and still be relatively emissions-friendly. To run something like 3 bar boost pressure which is 45 psi you need to run very very rich. You make crazy power, but you’re also sending some unburned fuel into the atmosphere which means crappy emissions. But in a six-stroke, we would not send all that unburned fuel out. We would send just a bit of it out and the rest would be burned during the next combustion stroke. So potentially, big power and government approval.
But why would Porsche patent this now if sales of new combustion vehicles will be banned starting with 2035 in the EU and I believe some other parts of the world?
Well, here’s the thing, the EU is not fully banning sales of new combustion vehicles starting with 2035.
On the 25th of March of 2023 EU reached an agreement with Germany where it was agreed that sales of and registration of new ICE vehicles will be permitted after 2035, provided that those vehicles operate only on carbon-neutral fuels.
So what this patent means is that Porsche is taking preventive measures to ensure that it can produce high-power and emissions-friendly engines that can still fit inside the back of a 911 in case e-fuel production ramps up before 2035. By patenting this design, Porsche ensures that nobody else can implement it without paying fees to them.
So will we see this engine in the future? Well, if e-fuel production does actually ramp up, I think it’s likely that Porsche will greenlight some sort of project. Will e-fuel be expensive? Probably. But I doubt that’s a major problem for Porsche buyers.

I could never care much about mechanics yet you made me read it with enthusiasm when relating it with politics and business strategy. Kudos!
Past articles on distro environments and CUPS (that you tackled it before and more accurately most linux media did) proves me the point that you should have a platform with other similar writers to expose things as these. There is very few places for us to go with diverse content yet of quality. Something like some stellar magazines used to be in the 80s but with internet they completely lost their way.
I added a link as a comment to the CUPS post. Being busy with a new mega-post on Linux, I couldn’t comment more, but I might add some political comments to existing political articles.
This is why you should check the right-side “comments” column, or use an RSS reader for the comments feed too, not just for the posts feed.
BYTE Magazine used to have 400+ pages at some point. Every single month.
My patent (US 10,119,463 B3; Nov. 6, 2018) is not included in the citations. Clearly, this design conceived (stolen?) using my engine in reverse power transmission. Yet, no mention of where they got the idea. See sowda007.com for details.
You should oppose your claims to the USPTO. Honestly, I am against most patents, if not all of them, as long as they’re merely ingenious ideas, but not precise compositions or methods that incurred high costs. There are millions of valid patents worldwide, but most of them are crap. Currently, no matter what you design as an engineer, it might have been patented by someone else. As an engineer, it took you less to just create that design, so you performed that work without “stealing” anything; but the law thinks otherwise, because of the monopoly established by a patent. Patent attorneys are expensive, but in the end you’ll have to pay them if you need to sell products that use your design: (1) To check if you infringe a patent, in which case your work was lost, and you have to pay royalties, if they’ll agree to that. (2) To apply for a patent if your design is original enough.
Now, I see that you’re the owner of a valid patent for an “Infinitely Variable Compression Ratio And Single Stroke Length Mechanism Or Dual Stroke Length Mechanism Of Reciprocating 2-cycle Or 4-cycle Internal Combustion Engine”: US10119463B2, MX2018014225A, KR102419856B1, JP7325794B2.
Defend your rights using the appropriate ways.
I have a PTO 1465 filed with the USPTO to expunged Porsche’s 6-stroke patent. Awaiting outcome. See control ref no. 90/020159. It only took 3 filing attempts. USPTO seems to lose all 60 pages every time. Took a team of USPTO personnel to locate my last filing. Now we are on track.
Oh, I missed Engineering Explained’s Jason Fenske’s own videos on this!
June 14, 2024: Porsche’s New 911 Engine Is Absolutely Brilliant – Formula 1 Tech!
Feb. 14, 2025: Porsche’s 6-Stroke Engine Is Genius!
A comment he added on the latter:
A funny comment by someone:
Either way, with Europe’s forced transition to EVs…